In the padprinting industry purchasing decisions are often based on assumptions that are simply nuts - literally. The president of a company will see a padprinting machine printing nuts at an exhibition and be suckered by the sales person into believing that, This process will print on anything. And when asked how fast the machine will print the sales person replies, 1500 per hour, hand fed. Dream on!
During more than 20 years of involvement with pad printing, I have not come across a truly bad press. I've also never encountered an ideal one. A variety of different press styles are available today, each with strengths and weaknesses. Understanding the differences between the press styles and how they may affect the application at hand will help you determine which press is best for your needs.
Pad-printing applications tend to fall into three main categories, listed in descending order in terms of quality demands:
•Printing involves the precise application of ink onto a substrate. Images normally contain lettering or symbols and may be single or multicolour.
•Decorating is where a design or effect is applied to a product to enhance the look of the product. Designs are purely artistic, serving no functional purpose , and may again be either single or multicolour. Effects include unusual patterns, simulated wood grain, etc.
•Coding involves printed information that must be legible, but not necessarily of high quality. An example is date stamping on containers and other packaging. Coding should not be confused with barcoding, where print quality is very important, particularly with regard to contrast and edge definition. Barcoding is considered a printing application.
Some machine requirements are consistent for all pad-padprinting applications. The machine has to transfer ink from an image carrier (cliche) via a flexible (silicone) pad onto a substrate. It must be able to carry out this pick-and-place function as accurately as possible, ideally within +0.0001 in. (+0.025 mm). It should operate smoothly, free of unwanted vibration at production speeds.
The press should be designed in such a way that the operator can simply regulate the ink conditions and contain the drying rate of the solvents in the ink. The ability to maintain the ink, and therefore the printing conditions, is of prime importance and is a feature that many machines lack. Although well engineered, some machines use large open ink troughs that exacerbate the problems of ink control for the printer.
There are basic requirements for a pad-printing press. To get the right press for your work, you must understand the differences in the types of machines currently available.
Manually Operated Presses
pad printing machine
Figure 1: Manually Operated Machine
Except in cases where pad printing will be done on a very small scale, manual machines are not even entry level anymore. However, some may be useful for testing purposes.
The first pad-printing presses were manually operated (Figure 1). Very high quality watch and instrument dials have been printed over the years using hand powered machines. Now, the only reason for buying them is the low initial cost. Except in cases where pad printing will be carried out on a small scale, they are not really entry-level machines. Print rates are very low, and maintaining quality over a continuous run is extremely difficult. A well-engineered unit can be useful for testing cliches, pads, inks, and designs as an alternative to taking a production machine off line.
Open Ink Trough (linking mechanism mounted above the cliche)

Figure 2: Open Ink Trough
In these original semiautomatic machines, the inking mechanism is mounted above the cliche. Although more modern models have better features, controlling ink condition fluctuations.
Many machines of this type (Figure 2) are out in the field. This was the original semiautomatic system, dating to the late 1960s/early 1970s, and has been the basis of many clones. The original machines were mechanically operated, giving little opportunity for adjusting individual press functions because the inking mechanism and pad stroke were tied together on the same drive. Printing speed was controlled by adjusting the speed of the main drive motor. Later, more sophisticated mechanically driven machines gave greater flexibility of adjustment. This is a very robust system with a smooth printing action that is unaffected by fluctuations in air-line pressure.
Over the years, this style has been further developed, and a host of machines have been produce using electropneumatics and even servo-motor drives. Also, PLCs (programmable logic controllers) are common, providing a wide range of sequencing options.
No matter how sophisticated these presses are, though controlling ink conditions is problematic due to the large surface area exposed to the atmosphere.
This can be ameliorated in different ways. Some manufacturers help reduce evaporation by shrouding the inking mechanism and inkwell. Other manufacturers us ink pumps and solvent-addition systems to compensate for the evaporation. Still, it's surprising to me that this press design is so widely used, given the ink/solvent balance.
Changeover of ink and cliche can be carried out relatively quickly by removing the entire ink tray, ink tray, including the cliche, and replacing it with another that has already been prepared. You must consider the cost of spare ink trays, which can be very expensive. The ink tray can be designed to catch ink that spills over the front of the cliche, thus keeping the machine cleaner.

Partially Covered Ink Troughs
Figure 3: Partially Covered Ink Trough
In these machines, ink is contained in a trough behind the cliche. The ink is pulled forward by a spatula mounted on a horizontal carriage with the doctor-blade assembly.pad printing machine While ink floods the cliche, the carriage covers it and reduces the solvent evaporation. When retracted, the mechanism covers the ink trough, further inhibiting solvent evaporation.
I have to admit a prejudice: this is my favourite press style if it is well engineered. Ink is contained in an ink trough located behind the cliche, as shown in Figure 3. The ink is pulled forward out of the trough by a spatula that is mounted on a horizontal carriage together with the doctorblade assembly. (Think of the squeegee/floodbar assembly on a screen printing press.) While ink is being flooded across the cliche, the horizontal carriage covers it and reduces the solvent evaporation. When retracted, the mechanism covers the ink trough. Let me make it clear that this does not seal in the ink as with a closed-cup press, but if does inhibit the evaporation of solvents. The ink/solvent mix will remain stable longer than in a completely open trough.
These presses must be robustly engineered. During the time that the doctor blade contacts the cliche, considerable turning occurs in the bearings at the rear of the carriage. Inadequate bearings will quickly degrade, and the carriage will become unstable, resulting in poor doctoring and uneven cliche wear. Even ideal systems must be kept clean and not overfilled with ink. Don't allow the spatula, which is normally free floating on these presses, to become fouled with ink or else it may stick up or down. My business partner spent a year growing red ink out of her blond hair when an inking mechanism stuck and then released suddenly because the operator had overfilled it with ink.
Sealed Ink Cups

Figure 4: Sealed ink cup
The diagram here shows a reciprocating-cliche press, but other sealed-cup models are available. These presses are designed to contain the ink in a cup that is turned upside down and pressed firmly against the cliche, sealing in the ink. The cup holds the ink and also acts as the doctor blade. The advantage of this system is that solvent evaporationpad printing machine is reduced to a minimum.
This system (Figure 4) is considered by some to be the panacea of all pad-printing ills; would that it were so. What is surprising is that this "new" development has actually been around for many years. A Swiss manufacturer of pad-printing machines for the watch-dial industry had a system 30 years ago!
The concept of these presses is to contain the ink in a cup that is turned upside down. The cup is pressed firmly against the cliche, sealing in the ink. The cup not only holds the ink but acts as a doctor blade as well; it traverses back and forth across the cliche, leaving ink only in the etched areas. The obvious advantage of this system is that solvent evaporation is reduced to a minimum. This allows much closer control of ink conditions, resulting in the opportunity for reduced downtime and partially unmanned operation.
"But", you say, "the salesman told me it will run 24 hours a day, seven days a week, 52 weeks a year." Did he say what the print quality would be, how often you would have to add ink, how much the cliche would wear, or how long the cup would last? Did he mention that you can't ignore the fact that the ink does degrade the cliche over time, that using two-component inks is not recommended, that the cliche should be twice the size of a conventional cliche for a given image, or that it is better to keep the cliches and cups as matched pairs? That question raises another one you should ask when shopping for such a system: "How much does a replacement cup cost?" The answer may be a surprise: $500 is not at all unusual. Fortunately, if the damage to the cup is very slight, it can be repaired by carefully honing the contact surface on a fine carborundum stone. Some cups can be remachined at a quarter of the replacement costs. This all means that the cups must be handled very carefully.
Ink cups come in different constructions. The simplest is machined from solid metal, normally hardened steel. The second type has a ribbon-steel contact surface that can be replaced when worn. The third is a metal cup with a ceramic contact surface bonded onto the metal. This provides a very good life. But is more expensive than the conventional cup.
To achieve maximum usage with any of these cups, apply minimum pressure and be certain that the cup is mounted on a stable bearing. Any tendency for the cup to rock will cause uneven wear and leave a film of ink on the cliche that will be transferred by the pad. Some systems use a magnet to hold the cup onto the cliche, which appears to work very well. cliche and cup wear with a magnet can be less than in a vertical-loading arrangement, thus allowing satisfactory change from one cliche to another with out changing the cup as a matched pair.
Figure 4 shows a reciprocating cliche press. In many sealed-cup systems today, the cliche is stationary and the cup traverses the plate. Multi-colour machines are now commonplace, and some manufacturers offer a choice of a sealed ink cup or open inking mechanisms on the same basic press.
There is no doubt that the sealed-cup systems are being further refined. They were available only in limited print sizes originally, but the use of larger cups is changing this. Another interesting variation on the closed-cup press involves the use of cliches that are mounted inside the ink container vertically rather than horizontally. The cliche rises straight up out of the container, with a doctor blade at the top scraping ink from non-image areas as well as sealing ink in the container from solvent evaporation. The pad moves horizontally to pick up the image from the cliche and, depending on the application and the press design, rotates either 90° or 180° to deposit the image on the substrate. The ink/solvent mixture is nearly as stable as in a closed-cup system, but larger areas can be printed as large as 5 x 18 in. (12.7 x 45.7cm).
One additional benefit of sealed inking systems: They reduce the level of solvents that are exposed in the working environment and expelled into the atmosphere.
Reciprocating cliches

Figure 5: Reciprocating cliches
In these models, instead of the pad moving back and forth from cliche to substrate, the cliche moves out of the way, while the pad remains stationary. This type of machinepad printing machine results in less vibration of the pad and faster machine cycling.
Sometimes, machine manufacturers will opt to keep the pad on the same vertical plane rather than have it move back and forth from cliche to substrate in the conventional manner. For this to happen, the cliche has to move out of the way. Manufacturers accomplish this by using reciprocating cliches (Figure 5) that work much like reciprocating-table screen-printing presses. This press design is available with either closed cups or open ink troughs.
The single-plane pad movement in this press provides a cost saving for the machine manufacturer because there is one less actuation on the machine. From the user's point of view, since the pad only has to move in the vertical plane, it vibrates less, and the machine can cycle faster. Automatic loading can take advantage of this rapid cycling.
One application for this system is high-speed coding machines, which some manufacturers claim, run at up to 10,000 cycles/hr. Here, a small cliche is used with a sealed ink cup. Larger machines with cliche areas of 8 x 18 in. (20.3 x 45.7 cm) have been produced using this method, but they need very substantial bearings to support the cliche in the pickup position because the loading pressure exerted by a large pad is considerable. Depending on the press, the ink trough may be shrouded at rest or for half the cycle during operation, helping to maintain the solvent balance.
Manufacturers claim that since the pad strokes below the base of the machine, it has a larger work area. The downside to this is that the machine must be well guarded because the forward movement of the cliche can potentially be a severe trapping hazard.
Rotary Presses

Figure 6: Rotary printing operation
These presses use a rotary drum-type silicone pad, usually in conjunction with a steel cylinder cliche into which the design is etched. Ink flows into the cliche from a trough orpad printing machine ducts, and a doctor blade removes excess ink. As the cylinder rotates, the silicone roller pad picks the ink out of the etching and transfers it to the substrate. One advantage of this system is speed - small items can sometimes be printed at rates of 120,000 parts/hr.
Rotary pad-printing systems (Figure 6) developed directly from gravure printing. They are very suitable for cylindrical parts and continuous flat printing.
These presses use a rotary drum type silicone pad in conjunction with a steel cylinder cliche. The design is etched into the cylindrical cliche, and the ink flows onto it from an ink trough or ducts. A doctor blade removes the excess ink. As the cylinder rotates, the silicone-rubber printing roller picks the ink out of the etching and transfers it onto the substrate.
One advantage of this system is its speed. With small components such as bottle caps and container closures, 120,000 parts/hr can be achieved. Printing these one at a time on conventional equipment, assuming a 1-in. (2.54-cm) diameter cylinder, would run at about 3000 parts/hr. Another advantage is the very fine detail that can be printed with rotary presses.
Ink deposits tend to be slightly less than in conventional pad printing, particularly at the higher speeds that are attainable. Also, the ink must be run with high levels of solvent. Ink manufacturers recommended 20% solvent, but I once used 30% on a multi-colour application. Each colour may require a separate solvent mix that must be determined at the start of a job and maintained throughout and on subsequent runs. Control of the solvent balance is essential. I recommend using ink pumps to maintain the ink conditions. These will normally have solvent feeds that must be carefully set to the correct feed rate. Some pumps have viscosity-measurement devices, but I have not found them particularly successful. Remember that changing the colour requires purging the system and why do I not recommend rotary systems for short runs.
Alternatives to steel printing cylinders are available. Steel foil and even photopolymer cliches can be mounted onto a modified cylinder, but their effectiveness is debatable because the pressure on the doctor blade causes them to wear fairly quickly. Although steel cylinders are by no means cheap, the investment is paid back by reduced downtime.
The capital cost of rotary systems is relatively high because a feeding system is almost always necessary to make full use of the technique. Output levels keep the cost per print extremely competitive. The quality should be as good as, if not better than conventional pad printing.
Although most of the major suppliers produce some variation of this equipment, availability is limited. Never accept a press without seeing it run to your specifications on the manufacturer’s premises.
Total Colour Transfer System

Figure 7: Total color transfer system
This technique, used almost exclusively in ceramic decoration, combines pad and screen printing. As you can see from the diagram, the image is screen printed onto a specialpad printing machine plate, and then the pad picks up the inked image and transfers it to the substrate.
This technique, developed for printing onto ceramic items, uses a mix of pad-printing and screen-printing technology, as illustrated in Figure 7. These systems don't use etched cliches to carry the image. Instead, the ink or ceramic colour is screen printed onto a flat, silicone-coated plate. The ink rests on top of this plate rather than adhering, and is then picked up by the pad and transferred onto the substrate.
When this process was first developed in the 1950s, the colour was cold. This did not allow for total transfer, however, so thermoplastic colour was used. This colour is a wax-like solid at room temperature, which is then heated on the metal-mesh screen by an electric current. This raises the temperature of the colour to 167°F (35-40°C) lower then the printing ink. The pad lifts the colour from the silicone plate and transfers it to the ceramic item, which chills the ink and causes a complete transfer.
Although this process is used almost exclusively in the ceramics industry, it demonstrates the happy marriage of the two processes. Its advantages include the following:
•Patterns can be printed onto areas and surfaces (e.g.., double curved surfaces) that cannot be directly screen printed.
•Fine lines and heavy bands can be applied at the same time as the principal pattern in one machine pass.
•Heavy deposits of colour can be applied to complex shapes. This was previously only possible using screen printing, which could print only on a more limited range of shapes.
•Screen printing, not pad printing, determines the quantity of colour applied. Therefore, more can be deposited than in conventional pad printing. This ensures prints of consistent high quality. Designs can employ a full range of effects, from solid lines to halftones.
•Many users manufacture screens in house, whereas cliches must often be done by a vendor.
Carousel Style System

Figure 8: Carousel Style System
This multicolour pad-printing system uses a combination of two rotary tables and a rotating pad carousel. Substrates are mounted on one table while cliches are mounted on thepad printing machine other. Above the cliches are sealed ink cups that ink the cliche by passing over the image area. After picking up the image, the pads and the cliche tables rotate so that the pads are positioned over the substrates. The pads then transfer the image to the substrates.
This novel machine (Figure 8) is a multicolour pad-printing system designed around rotary tables. It uses a combination of two rotating tables and rotating pad carousel. Substrates are mounted on one table, while cliches can be adjusted in X, Y, and rotary axes, allowing accurate positioning of the image.
Above the cliches is a system of sealed ink cups that ink the plate by passing over the image area and returning to the rest position. cliches are inked just prior to pad wetting. After the pad picks up the image, the pad carousel and the cliche-carrying table then rotates so that the pad carrying the image is over the substrate while another pad is positioned over the freshly inked second plate. The imaged pad then descends and prints the part. Simultaneously, the second pad descends and picks up the image from the second plate. This sequence continues until the multicolour image has been printed, then the rotary table is indexed. The printed piece is removed and replaced with an unprinted part.
The cam-operated system is fully mechanical, enabling up to 750 cycles/hr. Printing 250 four-colour designs an hour is achievable. This makes the machine ideal for short and medium-length runs. The press is designed in such a way that setup is easy and quick, and different pad shapes can be accommodated on the carousel to suit the design. Photopolymer cliches can be used, but as with conventional machines, steel plates give a longer life.
The carousel printer is a very useful tool, particularly for subcontract printers who are often faced with shorter runs of multicolour images. For longer runs, conventional linear, rotary, and oval systems are more economical because of their higher output.
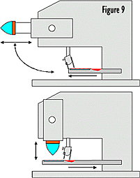
Printing on Non-Horizontal Planespad printing machine

Figure 9: Vertical Printing Machine
Machines such as this are suited for printing onto surfaces that are vertical or angled. All of the standard inking mechanisms are used with these machines, but generally, they tend to use smaller cliches.
Applications seldom call for printing onto surfaces that are vertical or angled. However, machines are available that are ideally suited for such work (Figure 9).
This equipment is often used in conjunction with vertical-stroke machines for printing onto the side of objects while the conventional machines are printing on the top. The print angle can be altered up to 90°; some machines will even print upward. All of the standard inking mechanisms are used with these machines, but as a rule, they tend to use smaller cliches.
Computer Numeric Control

Figure 10: Machine with computer numeric control
In presses with computer numeric control (CNC), the substrate is stationary and the pads are programmed to print one image at a time onto the item. A CNC system of control and actuation can be built into standard machines or modular assemblies like this one to suit almost any application.pad printing machine
With all of the other press styles to this point, the print station is stationary and parts are fed from one station to the next to achieve a multi-colour print. Not so with a press that uses computer numeric control (CNC). Here, the substrate is stationary and the pads are programmed to print one image at a time onto the part, as shown in Figure 10.
Though the robotic action of these presses appears complicated, CNC allows simple setting procedures and enables several setups to be programmed into the machine. All actuations are controlled by servo-motor drives, giving a very smooth, highly controllable print action. Stroke lengths are infinitely variable within the dimensions of the machine. Manufacturers claim considerable energy savings over pneumatically actuated machines, plus CNC presses aren’t affected by fluctuations in airline pressure.
The CNC system of control and actuation can be built into standard machines or modular assemblies (such as the one in Figure 10) that can be produced to suit almost any application. The degree of complexity is governed only by the imagination of the designer and the number of modules he wishes to use. All of the elements of component manipulation can be combined with multiple closed cups, pad cleaning, varying pad-stroke lengths, alternative pad shapes, etc. This system is often used where items must be printed in line with other assembly processes, or for complex multiple prints on different surfaces.
The flexibility of CNC comes close to producing the ideal machine for a particular application, but it is substantially more expensive than a conventional pneumatic press. If the workload can justify the increased investment, a CNC press is well worth considering. Don’t be carried away by the control technology - it still must be a capable printer.
Print rates with CNC machines will not necessarily be higher, but downtime and setup should be much reduced. The ability to store and retrieve setting details for the next time a job is run offers more consistent quality. Of course, some pneumatic presses allow simple production control cards (when filled out properly) will help with any machine.

Press Options
Most manufacturers provide a variety of add-ons for their presses. I am not talking about handling and feeding systems or pre- and post-treating equipment, but devices that improve print quality.
Pad Cleaning
These systems use adhesive tape dispensed onto a platform. At programmed intervals, the platform is placed under the pad. When the pad comes down onto the tape, any dried ink or debris on the pad surface is removed. The tape platform then retracts and printing continues. Pad-cleaning systems are used mainly on unmanned machines, although they are sometimes fitted on operator-fed machines. The press operator simply uses the device when needed.
Automatic pad cleaning is generally considered to be a useful addition. But if the substrates are clean, ambient conditions are controlled, and the ink is mixed correctly, automatic pad cleaning could be considered a luxury rather than a necessity.
Ink Pumps
The concept is to have a reservoir of ink in a closed container. Ink is pumped from the reservoir into the ink trough, then back again. In some cases, solvent is fed into the reservoir as regulated by automatic viscosity- measurement instrumentation. These devices are notoriously unreliable, so it’s better to mix a specific amount of solvent in at the start of the run and add a controlled amount during the run.
Cleaning these systems is a problem. The reservoir must first be emptied and then the pipes have to be flushed out. Often, spare reservoirs are supplied to speed the changeover. Even if the ink is never changed, the whole assembly must be cleaned out regularly because the ink has a pot life and will tend to "fur up" the equipment. Two-component inks can only be used with great care and must be changed regularly. Leaving one in for 24 hrs would be a very expensive mistake.
One of the simplest ink-feeding systems is a peristaltic pump used to take ink to and from the trough. These systems pump ink by compressing the tube carrying it. The advantage that the pump never comes into contact with the ink, only the outside of the tube. Flow rate is infinitely variable, and tubing is available that will withstand the aggressive solvents.
Solvent Dispensers
This is a simpler alternative to ink pumps when the volume of ink used is low. These systems dispense a specific amount of solvent at a set interval. Both the amount and time interval can be adjusted to suit the ink and printing conditions. In principle, regularly adding solvent is an excellent concept. As long as the dispensing system is soundly designed, it will go a long way to reducing one of the major variables in the process.
Use great care in selecting a solvent-dispensing system to ensure that the components will withstand the solvents. Also, the spatula must be modified slightly to ensure that the solvent is mixed in immediately In other systems, a slowly rotating cylinder in the ink trough keeps the ink agitated and the solvent well mixed.
This technique is also used with some closed-cup systems. Great care must be taken in regulating the flow since the volume of ink is much less, and it is possible to thin the ink too much.
Air Blowers
Here, the goal is to assist solvent evaporation from the ink when it is in the etching, on the pad, or on the substrate. This can be achieved by directing air from either a compressed-air line or a hot-air blower. Such blowers can be mounted on the machine but must be used with care and only when ambient conditions demand them.
Static Eliminators
By its very nature, pad printing generates a considerable amount of static electricity. Silicone rubber is an excellent insulator and the continuous mechanical action of the pad can generate many thousands of volts of static charge. Add this to the static charge that is inherent in the moulded plastic substrates - especially when they are stored in a plastic bag immediately after molding and removed from the bag just prior to printing - and you have a static cocktail that can cause real printing problems. A common effect of static is feathering. Where the ink tries to jump back onto the pad as it lifts away from the substrate.
Before diagnosing static, make sure that the etch depth on the cliche is not too deep or the ink too thick. If static is definitely the culprit, you must eliminate it. You can do this by blowing ionized air over the pad and/or substrate to conduct the static electricity away from the print area. Such static-elimination equipment is basically a series of electrodes in the air stream that are charged with a very high voltage (20,000-40,000 volts). These electrodes emit charged ions that give the air its static-elimination properties.
Static is, to a large extent, affected by ambient conditions. Very low humidity is the greatest problem. In some print shops, humidifiers are used rather than static eliminators to minimize the effect.
Image recognition
With more companies using unmanned pad-printing presses on automatic lines, the need for image-recognition equipment is increasing. These systems can detect changes in the print of as little as 0.0005 in. (0.0127 mm). They can also sense colour changes. Image-recognition equipment can be set up to alert operators, reject components, or stop the machine. Costs are continuing to fall. The CD industry uses this technology heavily and is demonstrating its advantages.
How to decide what machine to buy
To enable you to judge which press to buy, you will at least need answers to all of the questions shown under Purchasing Considerations. Most are obvious, but incorrect assumptions can be very expensive. When you are satisfied that you understand your own printing needs thoroughly, look for the following 20 factors from your suppliers and their equipment:
1.Good technical support
2.Sturdy machine construction
3.Ease of adjustment of all press functions
4.Enough distance between pad holder and cliche to accept a sufficient depth of pad
5.Doctor-blade holder able to take flexible blades as well as rigid, with a provision that the flexible blade can be set at a shallower angle
6.A large enough cliche area for the pad to fully spread outside the image area.
7.The output rate for prints of acceptable quality (not the cycle time of the machine)
8.Pad dwell, which enables you to adjust the precise speed of pickup and print actions as well as the speed of the pad stroke
9.Pickup and print positions that can be adjusted both front to back and side to side
10.Fast setup and teardown
11.Cost of spare ink wells, spatulas, pad holders, blade holders, etc.
12.For multicolour applications, X, Y, and rotational adjustment on each cliche
13.X, Y, rotational, and height adjustment for the fixture
14.Easy cleanup
15.Easy access to all operational parts of the machine
16.Standard pneumatic, electrical, and electronic components
17.In-house maintenance plan or service contract
18.Cost of replacement cups
19.Ability of cup edges to be remachined
20.Good technical support (I've repeated this one on purpose)
And finally....
Before you purchase a machine, always have several suppliers carry out print trials for you. (Obviously, you must have enough of the part on hand to send to these vendors - they can't do meaningful trials on a part that hasn't been prototyped yet.) Give your suppliers sufficient time to carry out these tests, but insist on being there to see the final trials run. Unless you are an expert, never accept that "it will get better in production." If your supplier cannot achieve an acceptable result, it is unlikely that you can. Agree with your supplier on a standard that is achievable in production. Talk to other people who have purchased from the same vendor.
Lastly don't think of the press as a standalone machine. It must fit into your entire production process. Product must flow efficiently to and from the machine. Cleaning, setup, changeover, and all the other factors of actually using the machine in your shop must be taken into consideration. If you follow these guidelines and the recommendations from previous articles, you'll have a sound press in your shop that will provide effective, repeatable results.
Purchasing Considerations
Trying to decide which pad-printing machine to buy? Start by answering the following questions. These answers will help you to identify and understand your printing needs so that you can select the equipment most suited to meeting them.
1.What range of components must the machine be able to print? Size of items? Size of prints?
2.Are the items flat, cylindrical, curved, or contoured?
3.What is the finest line that has to be printed?
4.How big is the largest area of solid colour?
5.Surface finish of the items?
6.Position of print?
7.Positional tolerances?
8.Material specifications, additives, filters, etc.?
9.Colour(s) of material?
10.Single or multicolour print?
11.Colour(s) to be printed e.g., Pantoneâ, B.S., DIN, etc.?
12.Are the items clean prior to printing?
13.Do they need pretreating? If so, which process is most suitable?
14.Do they need post-treating? If so, which process is most suitable?
15.Packaging to and from print station?
16.How soon after printing must the items be handled?
17.Dimensional tolerances of item?
18.Application of item?
19.Test requirements?
20.Environmental conditions?
21.Size of print batches?
22.Frequency of batches?
23.Total annual quality?
24.Print rate needed?
25.Manual loading/unloading?
26.Automatic loading/unloading?
27.What are the quality requirements (viewing distance, colour matching, etc.)?
28.Visual inspection system?
29.What is the wastage allowance?
30.Are samples of the item to be printed available?
31.If not, are models available?
32.Are final drawings available?
33.When will preproduction samples of the product to be printed be available?
34.When will the accepted items be available?
35.Capital allocated for equipment purchases?
36.Budget cost per print?
37.Is production space available, and is it clean? Does it have stable ambient conditions? Is it well lit?
38.What services are available?
39.Have storage and disposal of inks, solvents, and chemicals been considered?
40.Are employees available to run the equipment, and are they experienced?
41.What training do we need?
42.Who will have management responsibility for the printing?
43.Who will be involved in the purchasing decision? (Ownership of the process is critical.)
44.What is the delivery schedule for the equipment?
45.When is the first production batch required by the customer?
Post time:Sep-25-2020


